Givasa - Señalizaciones y balizamientos Givasa Señalizaciones y balizamientos

Productos

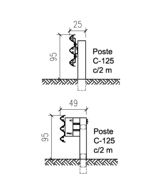
BARRERA METÁLICA DE SEGURIDAD >> H2
TRIONDA - H2L

TRIONDA - H2L

TRIONDA - H2L

Clase

H2 - W5 - DD 1,3 MTS - A



Documento adjunto

C/ Can Noguera, 13 · Polígon Industrial El Barcelonès · 08630 ABRERA · Tel: (+34) 93.772.13.39 - comercial@givasa.com - Aviso Legal - Política de privacidad